Elektryczne kable grzejne samoregulujące są niezastąpione w ochronie rur przed zamarzaniem, ale tylko prawidłowy montaż kabla grzejnego na rurze gwarantuje skuteczność i bezpieczeństwo takiego systemu. Jak zrobić to dobrze już za pierwszym razem? Poniższy poradnik krok po kroku wyjaśnia, jak właściwie przygotować rurociąg, zamocować samoregulujący przewód grzejny oraz zadbać o odpowiednią izolację termiczną. Dzięki tym wskazówkom Twój system ochrony rur przed mrozem będzie działał bezawaryjnie przez długie lata.
Przygotowanie rurociągu przed montażem kabla grzejnego
Zanim przystąpisz do montażu kabla grzejnego, należy odpowiednio przygotować sam rurociąg oraz zaplanować instalację. Upewnij się, że wykonano wszystkie prace wykończeniowe i pomiary na rurociągu, a jego powierzchnia jest gotowa na ułożenie kabel. Oto najważniejsze kroki przygotowawcze:
- Ukończone prace na rurociągu: Montuj kabel dopiero po zakończeniu wszystkich prób ciśnieniowych instalacji i po ostatecznym pomalowaniu rurociągów. Powierzchnia rury powinna być sucha i czysta.
- Zaplanowanie trasy kabla: Dokonaj przeglądu całej instalacji i zaplanuj przebieg kabla grzejnego zgodnie z projektem. Porównaj stan rzeczywisty rurociągu z dokumentacją projektową – w razie jakichkolwiek rozbieżności skonsultuj się z projektantem systemu, zanim przejdziesz dalej.
- Kontrola powierzchni rury: Obejrzyj dokładnie powierzchnię rur. Usuń ostre krawędzie, zadziory, rdzę lub chropowate miejsca, które mogłyby uszkodzić izolację kabla. Wygładź te miejsca mechanicznie, a dla pewności możesz je okleić dodatkowo taśmą aluminiową albo taśmą na bazie włókna szklanego – stworzy to gładką powierzchnię i zabezpieczy kabel przed przetarciem.
Prawidłowe przechowywanie samoregulujących kabli grzejnych

Jeśli kabel grzejny nie jest instalowany od razu po zakupie, ważne jest jego odpowiednie przechowanie. Nieprawidłowe warunki magazynowania mogą negatywnie wpłynąć na jego późniejsze działanie. Jak zatem przechowywać kabel grzejny?
Kabel grzejny zawsze trzymaj w suchym i czystym miejscu, z dala od wilgoci i zanieczyszczeń. Przy dłuższym składowaniu koniecznie zabezpiecz obydwa końce kabla przed dostępem wilgoci – najlepiej założyć na nie szczelne osłony, np. zgrzane rurki termokurczliwe z klejem wewnątrz. Producent kabla powinien określić dopuszczalny zakres temperatur przechowywania (często wynosi on od około -40°C do +60°C). Równie ważne jest przestrzeganie minimalnej temperatury montażu – zazwyczaj samoregulujące kable grzejne można instalować w temperaturze nie niższej niż -10°C (dla pewności sprawdź dokumentację techniczną konkretnego produktu). Zagwarantuje to, że kabel zachowa swoją elastyczność i właściwości podczas montażu.
Obchodzenie się z kablem grzejnym – czego unikać
Samoregulujące kable grzejne, choć trwałe, mogą ulec uszkodzeniu przy niewłaściwym obchodzeniu się z nimi. Oto lista czynności i sytuacji, których należy unikać podczas przygotowywania i montażu kabli grzejnych:
- Ostre krawędzie: Nie ciągnij i nie prowadzaj kabla po ostrych krawędziach lub szorstkich powierzchniach, ponieważ łatwo uszkodzić jego izolację zewnętrzną.
- Nadmierne naciąganie: Unikaj przykładania zbyt dużej siły podczas rozwijania i układania kabel. Nie ciągnij go na siłę – kabel powinien być napięty tylko lekko, tyle aby przylegał do rury, bez nadwyrężania żył i izolacji.
- Plątanie i zgniatanie: Uważaj, by kabel nie zaplątał się podczas rozwijania. Nie zgniataj go (np. przygniatając ciężkimi przedmiotami lub ciasno zaginając), gdyż może to spowodować pęknięcia lub przerwanie wewnętrznych elementów grzejnych.
- Deptanie i najeżdżanie: Nie chodź po rozłożonym na ziemi kablu ani nie przejeżdżaj po nim ciężkim sprzętem. Nawet wytrzymała izolacja może nie wytrzymać takiego traktowania.
- Wilgoć na końcach: Chroń niezaizolowane końcówki kabla przed zamoczeniem. Dopóki końce przewodu nie zostaną prawidłowo zaizolowane lub podłączone, nie powinny mieć kontaktu z wodą ani wilgocią (aby nie doszło do uszkodzenia elektrycznego kabla).
Jak bezpiecznie rozwijać kabel grzejny z bębna

Większość kabli grzejnych jest dostarczana na szpulach (bębnach). Nieprawidłowe odwijanie kabla może skutkować jego skręceniem, załamaniem lub nierównomiernym napięciem. Poniżej przedstawiamy, jak prawidłowo rozwijać samoregulujący kabel grzejny z bębna podczas montażu:
- Użyj stojaka do bębna: Umieść szpulę z kabel na specjalnym stojaku obrotowym (rozwijaku). Dzięki temu kabel będzie odwijany płynnie, bez szarpnięć i bez skręcania się. Stojak zapobiegnie też przypadkowemu upadkowi bębna.
- Delikatne napinanie: Podczas rozwijania i układania kabel na rurociągu nie ciągnij go zbyt mocno. Napinaj przewód tylko na tyle, by przylegał do rury i swobodnie omijał podpory czy armaturę. Zbyt mocne naciągnięcie może uszkodzić strukturę kabel lub spowodować jego przerwanie przy naprężeniu.
- Trzymaj się projektu: Montuj kabel zgodnie z długościami przewidzianymi w projekcie instalacji. Aby ułatwić sobie kontrolę długości podczas pracy, możesz co pewien odcinek oznaczać taśmą izolacyjną punkty na kablu albo odcinki pozostałe na szpuli. Dzięki temu będziesz wiedzieć, ile kabla już zużyto i ile zostało.
- Zostaw zapas na podłączenia: Pamiętaj o zostawieniu odpowiednich zapasów kabel na wszystkie przyłącza elektryczne, połączenia i zakończenia. Przy wprowadzaniu kabel do puszek przyłączeniowych, przy rozgałęzieniach lub na końcach rurociągu (zestawy zakończeniowe) zawsze potrzebny jest dodatkowy luz. Uwzględnij to, odliczając odpowiednio dłuższe odcinki, aby potem wygodnie wykonać przyłącza.
- Dodatkowy kabel na elementy: Jeśli na trasie rurociągu są elementy zwiększające straty ciepła – takie jak kołnierze, zawory, podpory – przewidź dodatkową długość kabla na opasanie tych elementów. Czasem projekt może wymagać również spiralnego ułożenia kabel na pewnym odcinku (np. przy dużych średnicach rur lub szczególnych wymaganiach). Jeżeli tak, również weź to pod uwagę, rozwijając odpowiednio więcej przewodu.
- Chroń końce kabla: Wszystkie wolne końcówki kabel (np. odcięte końce przed zainstalowaniem zestawu końcowego) muszą być przez cały czas zabezpieczone przed wilgocią, brudem oraz uszkodzeniami mechanicznymi. Załóż na nie tymczasowe osłony lub zawiń w taśmę samowulkanizującą, dopóki nie zamontujesz właściwych akcesoriów uszczelniających.
Zasady montażu kabel grzejnego na rurze

Przystępując do układania kabel na rurociągu, warto znać kilka ogólnych zasad, dzięki którym instalacja będzie wykonana poprawnie i bez uszkodzenia kabla:
- Unikaj skrajnych zgięć: Samoregulujący kabel grzejny ma spłaszczoną konstrukcję, co oznacza, że bardzo trudno jest go zgiąć wzdłuż płaskiej strony. Nigdy nie wymuszaj takiego zgięcia na kablu – próba zginania “na płasko” może trwale uszkodzić element grzejny lub izolację. Wszystkie zmiany kierunku prowadzenia kabel wykonuj z zachowaniem łagodnego łuku.
- Minimalny promień gięcia: Nie zginaj kabel pod ostrym kątem. Standardowo minimalny promień gięcia dla kabli grzejnych wynosi około 6-krotnej średnicy przewodu. Oznacza to, że jeśli kabel ma np. 1 cm średnicy, to łuk na załamaniu powinien mieć promień co najmniej 6 cm. Dzięki temu nie uszkodzisz wewnętrznej struktury kabel podczas jego prowadzenia przez zakręty.

- Prostopadłe cięcie kabla: Przy docinaniu kabla grzejnego na żądany wymiar zawsze tnij kabel pod kątem 90° (prostopadle) do jego osi. Unikniesz wtedy postrzępienia żył i zapewnisz poprawne późniejsze zaizolowanie końca w zestawie zakończeniowym.
- Możliwość krzyżowania: W odróżnieniu od kabli grzewczych o stałej rezystancji, samoregulujące kable grzejne mogą na siebie zachodzić, krzyżować się i dotykać bez ryzyka przepalenia. Nie obawiaj się więc, jeśli kable będą się stykać – ich moc grzewcza automatycznie się lokalnie zmniejszy, dzięki czemu nie dojdzie do przegrzania. To ważna zaleta systemów samoregulujących.
Schemat montażu kabla grzejnego na rurze

- Opaska kablowa (czytaj opis w dalszej części artykułu).
- Dla rur z tworzyw sztucznych stosuj samoprzylepną taśmę aluminiową Raychem ATE-180. Przyklej nią kabel grzejny na całej jego długości.
- Taśma samoprzylepna na bazie włókna szklanego:
- Raychem GT-66 – do rur miedzianych, stalowych, PCV.
- Raychem GS-54 – do rur ze stali nierdzewnej.
- Owijanie spiralne kabla grzejnego wokół rurociągów pionowych nie jest konieczne.
- Na kolanach rurociągów kable grzejne układać zawsze na ich zewnętrznej powierzchni.
- Puszka rozgałęźna.
- Naklejka ostrzegawcza „Ogrzewanie elektryczne“ co 4 – 5 metrów.
- Zestaw ochronny do wprowadzenia kabla grzejnego pod izolację rurociągu.
Aby ogrzewanie rurociągu było efektywne, istotne jest właściwe umiejscowienie kabel na obwodzie rury – zwłaszcza w przypadku poziomych odcinków. Samoregulujący kabel grzejny na poziomej rurze najlepiej poprowadzić wzdłużnie, w jednej linii, wzdłuż jej dolnej części. Optymalnie ułóż przewód „pod rurą”, nie bezpośrednio na samym dole (tj. nie na godzinie 6:00 patrząc na przekrój rury), ale nieco z boku – około na godzinie 5:00 lub 7:00. Taka pozycja (lekko odsunięta od dołu) zapobiega przypadkowemu uszkodzeniu kabel od spodu, a jednocześnie zapewnia skuteczne ogrzewanie, ponieważ ciepło unosi się wokół całego przekroju rury.

Czy należy owijać kabel wokół rury pionowej? W przypadku rurociągów pionowych często pojawia się pytanie, czy kabel grzejny powinien być owijany spiralnie dookoła rury, czy prowadzony prosto. Zazwyczaj nie ma potrzeby owijania spiralnego kabel na pionowych odcinkach – wystarczy ułożyć go wzdłuż rury w linii prostej (tak jak na rurze poziomej). Spiralne nawijanie stosuje się tylko wtedy, gdy wymaga tego specyfikacja projektu, np. przy rurach o bardzo dużej średnicy lub gdy trzeba dostarczyć większą moc grzewczą na jednostkę długości rury. Jeśli spiralne ułożenie nie jest przewidziane, prowadź kabel prostoliniowo także na pionowych fragmentach instalacji, mocując go regularnie taśmą lub opaskami.
Samoregulujące kable grzejne mogą być wielokrotnie krzyżowane ze sobą. W przeciwieństwie do kabli grzewczych o stałej rezystancji mogą się dotykać bez ryzyka przepalenia się.
Montaż kabla grzejnego na kolanie rury

Kolana (zakręty) rurociągu to miejsca, gdzie należy ze szczególną uwagą poprowadzić kabel. Przy zmianie kierunku rury zawsze układaj kabel grzejny po zewnętrznej stronie łuku kolana – czyli na tej części kolanka, która ma większy promień (dłuższą drogę). Zewnętrzna strona kolana rury to miejsce, które stygnie szybciej niż wewnętrzna, a jednocześnie ułożenie tam kabel zapobiega jego uszkodzeniu przy zginaniu. Kabel swobodnie obejmie łuk na zewnątrz, podczas gdy po wewnętrznej stronie kolanko ma mniejszy promień i kabel mógłby się tam zbyt ostro zaginać.
Aby zamontować kabel na kolanie, przytwierdź go do rury tuż przed i za kolankiem za pomocą taśmy montażowej (np. na bazie włókna szklanego). Następnie poprowadź przewód płynnie po zewnętrznej krzywiźnie zakrętu, starając się zachować wspomniany minimalny promień gięcia. Przymocuj kabel ponownie za kolanem, by się nie przemieszczał. Unikaj okręcania kabel dookoła kolana czy “skracania sobie drogi” po wewnętrznej stronie – taka instalacja mogłaby powodować punktowe przegrzewanie lub naprężenia kabel.
Montaż kabla grzejnego, gdy rura przechodzi przez ścianę

Przepusty rurociągów przez ściany lub stropy wymagają uwagi z dwóch powodów: po pierwsze zmieniają się tam warunki otoczenia rury, a po drugie łatwo przeoczyć to miejsce podczas układania izolacji. Jeżeli rura z kablem grzejnym przechodzi przez ścianę, zadbaj o to, by warstwa izolacji termicznej miała tam taką samą grubość, jak na pozostałym odcinku rurociągu. Cieńsza izolacja na odcinku przejścia mogłaby stać się słabym punktem (miejsce zwiększonej ucieczki ciepła). Jeśli z jakiegoś powodu nie da się zastosować takiej samej grubości otuliny w ścianie, warto zrekompensować straty ciepła dodatkową długością kabel grzejnego ułożoną w tej strefie. Innymi słowy, możesz wykonać na rurze tuż przed i za ścianą pewnego rodzaju pętlę lub zagęścić ułożenie przewodu, tak aby dostarczyć więcej ciepła na odcinku o gorszej izolacji.
Pamiętaj także, by w miejscu przepustu kabel był odpowiednio zabezpieczony mechanicznie. Przeprowadzając kabel przez otwór w ścianie, upewnij się, że nie ociera się on o krawędzie (ewentualnie użyj dodatkowej rury osłonowej lub peszla, jeśli to ciasny przepust). Po przeciągnięciu kabel, uszczelnij przepust tak, aby do warstwy izolacji nie dostawała się wilgoć.
Montaż kabla grzejnego na zaworze


Zawory na rurociągach stanowią duże “pochłaniacze” ciepła – mają masywną metalową konstrukcję, która oddaje dużo ciepła do otoczenia. Dlatego montaż kabla grzejnego na zaworze wymaga zwykle zastosowania dodatkowych owinień przewodu, aby skompensować te straty i utrzymać zawór w odpowiedniej temperaturze.
- Małe zawory (do 2”/DN50): W przypadku niewielkich zaworów wystarczy przeprowadzić kabel wzdłuż zaworu, prowadząc go po jednej stronie (można go po prostu poprowadzić prosto przez korpus zaworu, przymocowując taśmą). Upewnij się, że przewód ściśle przylega do powierzchni zaworu na całej długości korpusu.
- Duże zawory (> 2”): Dla większych zaworów zaleca się owinięcie korpusu zaworu kablem grzejnym. Owiń kabel dookoła zaworu, pokrywając jak najwięcej jego powierzchni, zgodnie z dokumentacją projektową lub schematami montażowymi dla danego typu zaworu. Często wykonuje się jedną lub dwie pętle wokół korpusu, prowadząc kabel także wzdłuż rury przed i za zaworem.
- Izolacja zaworu: Niezależnie od wielkości, każdy zawór z zainstalowanym kablem grzejnym musi zostać zaizolowany otuliną termiczną (podobnie jak reszta rurociągu). Po owinięciu zaworu kablem, zamontuj na nim odpowiednią izolację (np. koc izolacyjny lub formowaną otulinę z pianki) tak, aby całość była chroniona przed utratą ciepła i wpływem czynników zewnętrznych. Pamiętaj przy tym, żeby izolację dało się w razie potrzeby łatwo zdjąć – tak, aby umożliwić serwis czy wymianę zaworu bez niszczenia kabel grzejnego.
Montaż kabla grzejny na kołnierzu

Kołnierze łączeniowe na rurociągach, podobnie jak zawory, mają większą powierzchnię i masę, przez co stanowią miejsca o zwiększonych stratach ciepła. Montaż kabla grzejnego na kołnierzu również polega na dodatkowym owinięciu tego elementu kablem, co pozwala uzupełnić ubytek ciepła.
Standardowo praktykuje się wykonanie z kabla grzejnego pętli wokół kołnierza. Długość takiej pętli powinna odpowiadać około 2–3-krotności średnicy rury z danym kołnierzem. Przykładowo, dla rury o średnicy 10 cm przygotuj pętlę długości 20–30 cm, którą owiniesz wokół kołnierza. Jak to zrobić? Poprowadź kabel wzdłuż rury dochodząc do kołnierza, następnie owiń go raz dookoła kołnierza, wracając do rury po przeciwnej stronie, i kontynuuj prowadzenie dalej wzdłuż rurociągu. Takie “objechanie” kołnierza zapewni dodatkowe ciepło w tym miejscu. Przytwierdź kabel do kołnierza taśmą montażową, żeby pętla pozostała na swoim miejscu podczas zakładania izolacji.
Pamiętaj znów o izolacji termicznej – kołnierz wraz z owiniętym kablem musi być otulony tak samo jak reszta rury. Dobrze jest zastosować nieco grubszą warstwę izolacji na samym kołnierzu (bo ma większą średnicę niż rura), albo wypełnić przestrzeń dodatkowym materiałem izolacyjnym, aby nie pozostawić mostków termicznych.
Montaż kabla grzejnego na podporze rurociągu

Podpory stalowe (tzw. stoliki, uchwyty lub „ślizgi” podtrzymujące rurociąg od spodu) to kolejne miejsca tworzące mostki termiczne. Metalowa podpora odprowadza ciepło z rury, więc trzeba ją uwzględnić przy układaniu kabel. Montaż kabla grzejnego przy podporze polega na wykonaniu specjalnej pętli, która ogrzeje obszar podpory.
Kiedy zbliżasz się z kablem do punktu oparcia rury na podporze, wydziel z przewodu pętlę o długości mniej więcej dwa razy większej niż wysokość (długość) samej podpory. Następnie ułóż tę pętlę na rurociągu w miejscu podparcia: jedna część pętli idzie nad punktem podparcia, a druga pod nim, tak aby kabel obejmował podporę z dwóch stron rury. Mówiąc prościej – przewód powinien “ominiąć” miejsce styku podpory z rurą, tworząc dodatkowy zwój nad i pod podpórką.
Tak przygotowany kabel przymocuj do rury przed i za podporą za pomocą taśmy lub opasek, żeby pętla się nie przesuwała. Po instalacji kabel zaizoluj starannie podporę razem z rurociągiem. Pod izolacją cieplną kabel ułożony w pętlę zapewni, że ten odcinek rury nie będzie wychładzał się bardziej niż inne (kompensujemy tym samym straty ciepła przez stalową konstrukcję podpory).
Montaż kabla grzejnego na rurze z zawiesiem (obejmą)

Wieszaki i obejmy podporowe, które utrzymują rury od góry lub z boku (np. rury biegnące pod stropem podwieszone na obejmach), również wymagają uwzględnienia przy montażu przewodów grzejnych. Dobra wiadomość jest taka, że zazwyczaj nie trzeba wykonywać dodatkowych pętli z kabla na każdej obejmie czy wieszaku – chyba że dokumentacja techniczna wskazuje inaczej dla wyjątkowych przypadków.
Jak zatem prowadzić kabel przez punkt mocowania rury obejmą? Zawsze układaj kabel po zewnętrznej stronie obejmy, to znaczy między obejmą a ścianą (lub podłogą), a nie pomiędzy obejmą a rurą. Chodzi o to, by kabel nie został ściśnięty bezpośrednio pod obejmą. Przed zapięciem obejmy na izolowanej rurze, upewnij się, że kabel jest położony na izolacji obok obejmy. Dzięki temu obejma przytrzyma go na miejscu, ale nie będzie go zgniatać. Dodatkowo możesz przymocować kabel tuż przed i za obejmą taśmą, aby się nie przesuwał. Jeżeli specyfikacja projektu wymaga dodatkowej pętli na konkretnym wieszaku (co czasem ma miejsce przy długich odstępach między podporami), wykonaj taką pętlę analogicznie jak dla zwykłej podpory.
Podsumowując: przy standardowych wieszakach kabel prowadzimy ciągiem, dbając tylko, by nie znalazł się bezpośrednio pod obejmą. Całość znów powinna zostać szczelnie zaizolowana po zamontowaniu kabel.
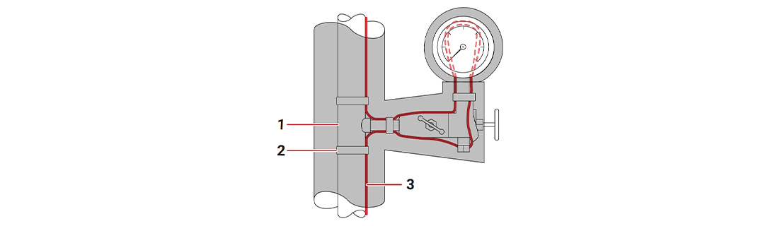
Montaż kabla grzejnego na ciśnieniomierzu

Instalacje rurowe często wyposażone są w przyrządy pomiarowe, takie jak manometry (ciśnieniomierze). One również mogą wymagać ogrzewania, by zapewnić poprawne wskazania w niskich temperaturach. Montaż kabla grzejnego na ciśnieniomierzu (manometrze) polega na ogrzaniu zarówno korpusu przyrządu, jak i jego przyłącza do rury.
Aby to osiągnąć, ułóż kabel grzejny tak, aby obejmował manometr z obu stron. W praktyce zrealizujesz to w kilku krokach:
- Poprowadź kabel grzejny wzdłuż rury aż do trójnika lub przyłącza, na którym zamontowany jest manometr.
- Następnie ułóż fragment kabel wzdłuż korpusu manometru (po jego zewnętrznej stronie). Jeśli to możliwe, dwoma stronami: np. z lewej i prawej strony okrągłej obudowy wskaźnika.
- Okrąż lekko podstawę manometru, tak aby przewód przylegał też do części przyłącza (możesz przeprowadzić kabel za manometrem, tworząc coś w rodzaju pętli wokół jego obudowy).
- Przymocuj kabel taśmą na korpusie manometru, by się nie zsuwał.
W efekcie manometr będzie otoczony kablem grzejnym, co zapobiegnie spadkowi temperatury wewnątrz obudowy i ewentualnemu zamarzaniu cieczy (w manometrach wypełnionych) lub skraplaniu się wilgoci na szybie. Po zamontowaniu kabel pamiętaj o zaizolowaniu także samego manometru – np. można zastosować zdejmowaną osłonę izolacyjną na czas mrozów.
Czym mocować kabel grzejny do rurociągu?
Właściwe przymocowanie kabel grzejnego do rury jest kluczowe – przewód musi ściśle przylegać do powierzchni rurociągu, by efektywnie przekazywać ciepło, a jednocześnie nie może być uszkodzony przez materiał mocujący. Pojawia się pytanie: czym mocować kabel grzejny do rury, aby było to bezpieczne i trwałe?
Czego nie używać: Kategorycznie nie wolno przymocowywać kabel grzejnego drutem ani metalowymi obejmami bez izolacji. Unikaj też zwykłych winylowych taśm izolacyjnych (elektrycznych) – z czasem mogą stracić elastyczność na mrozie lub wejść w reakcję z powłoką kabel. Takie materiały mogą uszkodzić izolację przewodu albo go przegrzać miejscowo. Materiał mocujący powinien wytrzymać lata pracy w zmiennych warunkach – musi być odporny na starzenie, na duży zakres temperatur (ujemnych i dodatnich, sięgających nieraz powyżej +50°C), a także obojętny chemicznie względem powłoki kabel, materiału rury oraz izolacji termicznej.



Zalecane materiały mocujące: Najlepszym sposobem mocowania samoregulujących kabli grzejnych są specjalne taśmy samoprzylepne na bazie włókna szklanego lub aluminium, ewentualnie opaski z tworzywa sztucznego odpornego na temperaturę:
- Taśma Raychem GS-54: samoprzylepna taśma z włókna szklanego do zastosowań w ekstremalnie niskich temperaturach. Zalecana szczególnie do rur ze stali nierdzewnej. Można ją montować nawet przy mrozie do -40°C.
- Taśma Raychem GT-66: samoprzylepna taśma zbrojona włóknem szklanym, uniwersalna – przeznaczona do mocowania kabli na rurach metalowych (stal, miedź) oraz na PCV. Stosuje się ją w temperaturze otoczenia powyżej +5°C.
- Taśma aluminiowa Raychem AT-180 (ATE-180): samoprzylepna taśma aluminiowa o wysokiej przewodności cieplnej. Używana głównie do mocowania kabli na rurach z tworzyw sztucznych, na korpusach pomp oraz na innych elementach o nieregularnych kształtach. Taśma ta nie tylko przytwierdza kabel, ale także poprawia przewodzenie ciepła i zwiększa efektywność grzania. Stosowanie możliwe w temperaturach od 0°C wzwyż.

Alternatywnie, można użyć specjalnych opasek kablowych z tworzywa sztucznego, odpornych na niskie i wysokie temperatury. Ważne, aby były to opaski dedykowane do instalacji grzewczych – zwykłe trytytki elektryczne mogą pękać na mrozie lub mięknąć w wyższych temperaturach.

Jak mocować kabel taśmą lub opaskami? Niezależnie od wybranego materiału, przyjmij zasadę, że kabel powinien być przymocowany minimum w dwóch miejscach na każdy metr (czyli co ~30 – 50 cm). W praktyce owija się taśmą włókno-szklaną przewód i rurę dwukrotnie co około 30 cm na całej długości rurociągu. Jeśli używasz opasek plastikowych, rozmieszczaj je z podobną częstotliwością. W razie potrzeby mocowania mogą być częstsze – ważne, żeby kabel nigdzie nie odstawał od rury i nie zwisał luźno. Pamiętaj też, że po zamocowaniu kabel i przed założeniem izolacji dobrze jest jeszcze raz przejść wzdłuż rurociągu i sprawdzić, czy nigdzie nie powstały naprężenia lub ostre zgięcia przewodu.
Dodatkowe wskazówki i kontrola instalacji

Na zakończenie, zwróć uwagę na kilka dodatkowych kwestii, które pomogą w bezproblemowej eksploatacji ogrzewanego rurociągu:
- Krótkie odcinki i odgałęzienia: Jeśli masz do ogrzania bardzo krótki fragment rury lub niewielkie odgałęzienie (o długości do ok. 3 metrów), nie ma sensu instalować dla niego osobnego przewodu z osobnym zasilaniem. Zamiast tego wykonaj na takim odcinku pętlę z głównego kabel grzejnego. Po prostu zawróć kabel na końcu odgałęzienia z powrotem do rury głównej. Pozwoli to ogrzać tę część bez konieczności montowania dodatkowych puszek rozgałęźnych – jest to rozwiązanie ekonomiczniejsze i prostsze.
- Pomiary kontrolne kabla: Przed przystąpieniem do instalacji kabli grzejnych warto zmierzyć rezystancję izolacji każdego odcinka kabel (megohomomierzem, tzw. miernikiem izolacji). Ten sam pomiar należy powtórzyć po zakończeniu montażu kabel na rurze, a przed podłączeniem zasilania i założeniem izolacji termicznej. Wartość rezystancji izolacji powinna wynosić co najmniej 1000 MΩ (megomów). Jeśli wynik jest niższy, może to świadczyć o uszkodzeniu kabel lub zawilgoceniu – lepiej to wykryć i usunąć usterkę zanim całość zostanie zabudowana izolacją. Jak zmierzyć samoregulujący kabel grzejny?
- Oznaczenia i tabliczki ostrzegawcze: Po zamontowaniu kabli grzejnych i przed zakryciem instalacji izolacją, umieść wzdłuż rurociągu naklejki ostrzegawcze “Ogrzewanie elektryczne” (lub odpowiednie tabliczki). Zaleca się rozmieszczenie takich oznaczeń co 4–5 metrów oraz przy wszystkich istotnych elementach (zawory, kołnierze). Dzięki temu osoby trzecie lub serwisanci będą świadomi istnienia przewodów grzejnych pod izolacją.
- Montaż izolacji termicznej: Prawidłowo zainstalowana izolacja cieplna to dopełnienie całego systemu. Po ułożeniu i przymocowaniu kabli grzejnych nałóż otuliny termoizolacyjne o grubości przewidzianej w projekcie (lub grubsze, jeśli chcesz zwiększyć efektywność). Upewnij się, że izolacja jest sucha, nieuszkodzona i szczelnie przylega do rurociągu na całej długości, zakrywając również zawory, kołnierze, podpory i inne elementy, na których ułożyłeś kabel. Całość zabezpiecz przed wpływem warunków atmosferycznych zgodnie ze wytycznymi (np. folią zewnętrzną, płaszczem z blachy aluminiowej itp., zależnie od zastosowań).
- Uruchomienie systemu: Po wykonaniu powyższych prac Twój system ogrzewania rurociągu jest gotowy do działania. Podłącz przewody do odpowiednich termostatów i zasilania zgodnie ze schematem producenta. Przy pierwszym uruchomieniu sprawdź, czy kabel nagrzewa się na całej długości (rura powinna się stopniowo ogrzewać). Od tej pory nie musisz się obawiać mrozów – dobrze zamontowany kabel grzejny skutecznie zabezpieczy Twoje rury przed zamarznięciem.
Podsumowanie: Montaż samoregulującego kabel grzejnego na rurze wymaga staranności i przestrzegania powyższych zasad, ale wykonany poprawnie zapewni bezawaryjne działanie systemu przez wiele lat. Pamiętaj o przygotowaniu rurociągu, ostrożnym obchodzeniu się z kablem, odpowiednim rozmieszczeniu przewodu na rurze oraz solidnym zamocowaniu i izolacji całości. Dzięki temu instalacja będzie bezpieczna, wydajna i gotowa stawić czoła nawet najsroższym mrozom.
